Moisture Holders(Form B)DIN 42567
- Details
Moisture holders are used to take out the moisture of the air that enters the expansion vessel when the transformer is operating. In this way it hinders water condensation in the expansion vessel and operation safety of the transformer is increased.

| ITEM NO | QUANTITY | DESCRIPTION | SPECIFICATION | |
| 0.5 KG | 1 KG | |||
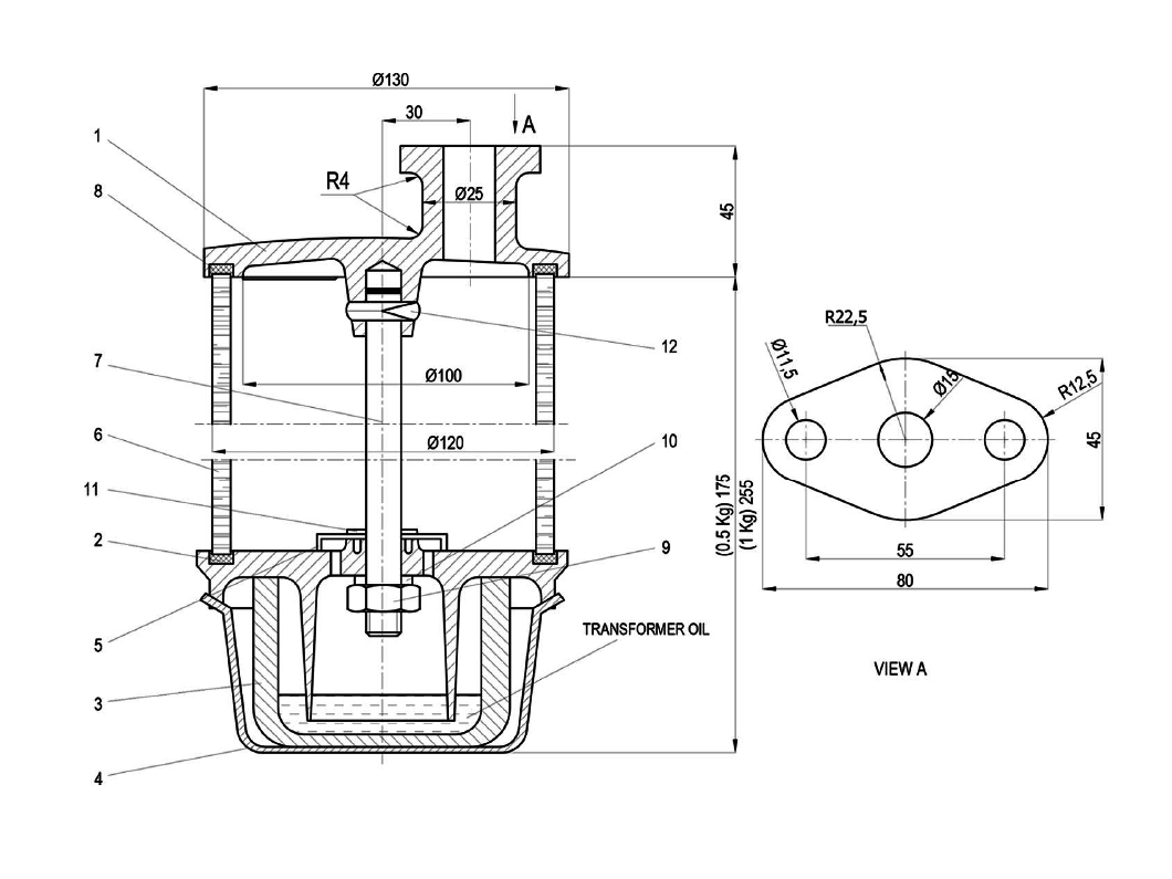
| 1 | 1 | 1 | TOP SECTION | 1 DIN 42567 |
| 2 | 1 | 1 | BOTTOM SECTION | 3 DIN 42567 |
| 3 | 1 | 1 | OIL BOWL | 92X6X66-3 DIN 42567 |
| 4 | 1 | 1 | HOLDER | 5 DIN 42567 |
| 5 | 1 | 1 | SIEVE | 45X1X6-5 DIN 42567 |
| 6 | 1 | GLASS CYLINDER | 120X5X100-6 DIN 42567 | |
| 1 | GLASS CYLINDER | 120X5X180-6 DIN 42567 | ||
| 7 | 1 | BRIDGING PLUG | 12X125-7 DIN 42567 | |
| 1 | BRIDGING PLUG | 12X205-7 DIN 42567 | ||
| 8 | 2 | 2 | GASKET | 124X4X106-8 DIN 42567 |
| 9 | 1 | 1 | GASKET | 29X39X3 NBR |
| 10 | 1 | 1 | PLUG | R1"DIN 910 |
| 11 | 1 | 1 | NUT | M12 DIN 934-4D |
| 12 | 1 | 1 | SPRING WASHER | B12 DIN 127 |
| 13 | 2 | 2 | RIVET | 2,3x5 DIN 1476 |
| 14 | 1 | 1 | PIN | 4x24 DIN 1471 |
CONSTRUCTION
Moisture holders of 0,5-1 kg (Form A,B,C) The top and the bottom sections are casted aluminum and electrostatic powder painted. The shafts are made of nickel plated steel and the sieves are made of zinc sheet. Container cylinder is glass or polycarbonate depending on the customers' request. Oil bowl is of polycarbonate and the bowl holder is made of CrNi material.
OPERATION PRINCIPLE
When the transformer gets air in, an air flow from and to the oil bowl occurs. The oil layer in the bowl prevents the dryer material from continuous contact with the damp external air and cleans the air flowing in. If the operation temperature of the transformer decreases, the volume of the isolation oil gets smaller. During this lessening, an amount of air equal to the lessening amount is absorbed in to the oil bowl through air holes. This air then transfers to the expansion vessel and contacts with the oil layer. During this transfer, air contacts with the dryer material and leaves its moisture there. With the heating of the oil in the transformer tank, the air inside flows out from the opposite direction of the moisture holder.
TYPE / FORM | CODE NO | SILICAGEL CAPACITY (Kg) | TRANSFORMER OIL CAPACITY (Max.) (Kg) | |
MH 0,5 kg (DIN 42 567) | FORM A | 611A | 0.5 | 1800 |
FORM B | 611B | |||
FORM C | 611C | |||
MH 1,0 kg (DIN 42 567) | FORM A | 621A | 1.0 | 3600 |
FORM B | 621B | |||
FORM C | 621C | |||
MH 0.15 Kg | 601B | 0.15 | 600 | |
MH 1.2 Kg (DIN 42562) | 641 | 1.2 | 4500 | |
MH 2.4 Kg (DIN 42562) | 651 | 2.4 | 9000 | |
MH 3.6 Kg (DIN 42562) | 361 | 3.6 | 13500 | |
MH 4.8 Kg (DIN 42562) | 671 | 4.8 | 18000 | |